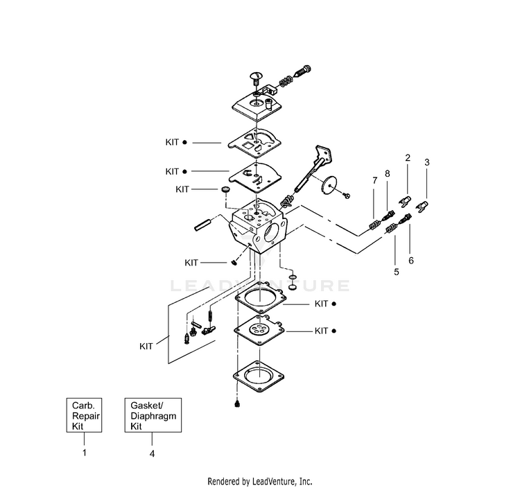
42 weed eater gas line diagram
Craftsman CMXGTAMD25SC gas line trimmer parts - manufacturer-approved parts for a proper fit every time! We also have installation guides, diagrams and manuals to help you along the way! 20.03.2015 · drained gas tank from fuel line on the fuel line down line of filter. (filter not plugged) ... flooding with fuel it but it runs like crap and smokes black and grey clean the carburetor still have same issue has a diagram pump in the carburetor with electric solenoid. Reply . Dan says: January 16, 2017 at 4:04 pm. I have a 20 hp Honda GX620 that I just replaced with an oem …
If you’re in a hurry to find out what the best gas fire pit conversation set is, we’ll make it easy. Coming in at number one in our rankings is the Outland Living Series Gas Fire Pit Table.. With its stylish design, good value, and 50,000 BTU heating capacity, this gas fire pit table delivers all of the most critical features that most people look for when buying a gas-powered fire pit.

Weed eater gas line diagram
HowStuffWorks explains thousands of topics, from engines to lock-picking to ESP, with video and illustrations so you can learn how everything works. We would like to show you a description here but the site won’t allow us. Last on our list of the best weed eater replacement head options is the replacement spool for the Weed Eater brand itself. This spool, loaded with a very generous 30 feet of 0.065 line, comes complete with a built-in trimmer cap and extra retainer and spring.
Weed eater gas line diagram. String trimmers, also known as line trimmers, weed eaters, weed whackers, and strimmers, can be troublesome garden tools. Difficulty in starting is often due to an issue with the carburetor. PROYAMA 42.7cc 2 in 1 Extreme Duty 2-Cycle Gas Brush Cutter and Dual Line Trimmer, Grass Trimmer, Weed Eater 2021 Upgraded . 4.1 out of 5 stars 282. in String Trimmers. 1 offer from $259.00. SALEM MASTER 51.7CC Weed Eater Gas Powered String Trimmer Straight Shaft 2 Cycle Gasoline Powered Weed Wacker Brush Cutter G520M. 4.1 out of 5 stars 152. 1 offer … Cheap essay writing sercice. If you need professional help with completing any kind of homework, Solution Essays is the right place to get it. Whether you are looking for essay, coursework, research, or term paper help, or with any other assignments, it is no problem for us. Most common replacement parts for Kenmore gas range Model 790. Oven door light switch. The oven door light switch is a plunger switch on the frame of the oven above the opening to the oven. The oven door pushes the oven light switch plunger in when the door is closed to turn the light off.
Stihl km56rc trimmer weed eater bogs down won't run wide get shopping advice from experts, friends and the community! i have a craftsman lawn tractor model 917. If the saw drops at full throttle, not enough gas or air is reaching that chamber. Could be a fuel line problem BUT it sounds like you may have a seal going or gone. Would Sep 18, 2018 · If you lean on the saw … Nov 30, 2021 · With a rich history in outdoor power equipment STIHL Inc. If you have a STIHL FS45 weed eater, then you'll need STIHL FS45 parts. Stihl FS 25-4,FS 65-4 Service Repair Manual. Ts400 Parts Diagram New Marvelous Stihl Ht101 Pole Saw Parts Diagram Ideas Best Image. LEARN MORE Add to Cart. 3 out of 5 stars 256 Amazon. 66 cu. 278 Products Found Sort. Craftsman 917203810 front-engine lawn tractor parts - manufacturer-approved parts for a proper fit every time! We also have installation guides, diagrams and manuals to … Narrow your search for Ford 4000 Tractor Parts by selecting categories on the left.. The Ford 4000 Tractor was manufactured in Michigan from 1962 to 1975. The Ford 4000 was comparable to the Ford 801 and 901 tractors. However, the 65-75 Ford 4000 was completely different from the ground up. The 62-65 Ford 4000 was powered by a 55 hp 2.8L 4-cyl diesel or gas engine.
Last on our list of the best weed eater replacement head options is the replacement spool for the Weed Eater brand itself. This spool, loaded with a very generous 30 feet of 0.065 line, comes complete with a built-in trimmer cap and extra retainer and spring. We would like to show you a description here but the site won’t allow us. HowStuffWorks explains thousands of topics, from engines to lock-picking to ESP, with video and illustrations so you can learn how everything works.
0 Response to "42 weed eater gas line diagram"
Post a Comment