39 john deere 111 drive belt diagram
John Deere AG, Lawn & Garden and CWP Equipment Parts Search. John Deere parts lookup tool and diagram is an incredible online source. It is a complete catalog that shows you detailed parts diagrams of every part of your machine. This online parts catalog is robust and easy to use. Searching for your John Deere parts online has never been easier. These John Deere Lawn Tractor Parts may include: Tune Up Kit, Spark Plug, Mower Blades, Traction Drive Belt, Transmission Belt, Mower Drive Belt, Battery, and Air Filters. If you need help finding John Deere Lawn Tractor Parts Search Using Weingartz Illustrated Diagrams to view an illustrated diagram or call us at 1-855-669-7278.
The drive belt runs from the engine to the rear transaxle and Im not sure how to replace it. There is an electric PTO clutch under the motor below the pulley for the main belt. It operates the mower deck belt. The main belt & pulley are closer to the motor right above the pto clutch. There is an idler pulley on the belt to tension it, but that ...

John deere 111 drive belt diagram
The John Deere 111 is a 2WD lawn tractor from the 100 Lawn series. This tractor was manufactured by the John Deere in Horicon, Wisconsin, USA from 1979 to 1985. The John Deere 111 riding mower is equipped with a 0.4 L single-cylinder gasoline engine and Belt-driven gear transmission with 5 forward and 1 reverse gear. Free john deere 111 mower manual [ 2 Answers ] I have a John Deere model 111 riding mower with a 28" cut. The drive tran (I believe that is what they call it) that powers the mower has slipped off. 1) How to I replace the belt (diagram ath lets me replace the belt) 2) The belt is old and probably needs replacement. What is the name/part... The video show an easy way to remove a John Deere 180 drive belt. If you enjoy, hit the LIKE button, COMMENT and SUBSCRIBE.
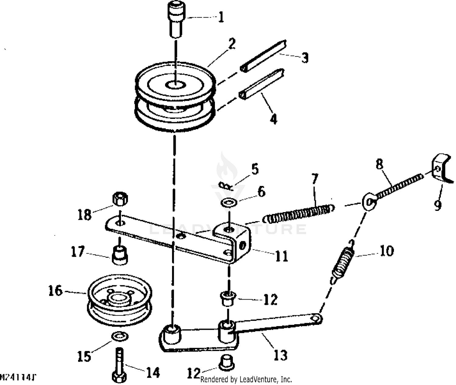
John deere 111 drive belt diagram. RINGMASH (New) fits Compatible with John Deere 108 111 112L 130 160 165 170 175 PTO Mower Drive Belt M77988 38" fits Deck, 111 W 30" & 38" Deck, 111H W 30" & 38" Deck, 112L W 30" & 38" 5.0 out of 5 stars 2 Fireguy14. Long time reader and finally have to become a member. I have 116 gear shift lawn tractor and I am working on replacing the drive belt and am wondering if anyone has the pages from the tech manual regarding this that they would be willing to share. I have the belt loose and can see where my hang up is under the motor. john deere model 111 38 in mower deck belt routing i took by belts off my mower deck and now i forgot how they go on my lawn tractor is a 1980 john deere 111 with a 38 in non adjustable front lip deck help. John Deere Parts Diagrams, John Deere 111 Hydrostatic Lawn Tractor -PC1699 1982 Model 190001-257000 111 Hydrostatic Lawn Tractor -PC1699 1983 Model 257001-285000 111 Hydrostatic Lawn Tractor -PC1699 1984 Model 285001-315000 111 Hydrostatic Lawn Tractor -PC1699 . Actuator,PTO Cam Arm,Drive Sheave & Belt 108 and 111 - 120000: POWER TRAIN,STEERING ...
When you engage your mower deck on your John Deere L111 you should expect to hear a short squealing sound as the drive belt grips the pulleys on the engine and mower deck. However, if while mowing, you continue to hear this squealing, you must replace the drive belt as it has worn out and is now in danger of breaking. Description: John Deere D150 Lawn Tractor Parts throughout John Deere L118 Parts Diagram, image size 410 X 410 px, and to view image details please click the image.. Honestly, we have been remarked that john deere l118 parts diagram is being just about the most popular subject right now. So that we attempted to find some good john deere l118 parts diagram graphic for your needs. I simplify the task of changing the main drive belt on a John Deere tractor/transmission belt on a John Deere tractor.The particular tractor is how to change... John Deere Traction Drive Belt - M83837-John Deere Traction Drive Belt Measures: 88.189-inch effective length* .500-inch width Fits models: 108 gear . ... 111 gear drive. 116 gear drive before serial number 285,000. 160 *Effective length is the outside circumference under tension.
38-inch Mower Deck Parts for 111 - Deck Without Adjustable Front Lip Section. ... John Deere Blade Spindle Bearing Housing Assembly - AM30302 Quick View. References: Operator's Manual 108, 111,112L ,116, and 116H (OMM88424-J4) published in 1984, by John Deere: Lawn Tractors and Mowers published in 1981, by John Deere 38-inch Mower Deck Parts for 111 - Deck With Adjustable Front Lip Section. ... John Deere Primary Deck Drive Belt - M77988 (16) $18.93. Usually available. Add to Cart. Quick View. John Deere Secondary Deck Drive Belt - M82462 (15) $21.68. Usually available. Add to Cart. Early this summer I bought an old R70 because I needed a smaller rider than the one that I had. It needed work, which was fine. I finally have it running right, but now I am having problems with the deck drive belt coming off of the spindle pulley when you take the deck out of gear. I have looked at a lot of different parts diagrams on line and ...
I have a John Deere model 111 riding mower with a 28" cut. The drive tran (I believe that is what they call it) that powers the mower has slipped off. 1) How to I replace the belt (diagram ath lets me replace the belt) 2) The belt is old and probably needs replacement. What is the name/part number for this belt. Thanks! Bill
M82462 Secondary Deck Belt 108 111 116 130 160 165 170 175 180 185 240 260 265 325 335 345 111h 112l 116h 355d Gt242 Gt262 Gt275 Lx172 Lx173 Lx176 Lx178 Lx188 Stx30 Stx38 Yellow Decks Emmetts Shop
Joined Jun 26, 2002. ·. 2,741 Posts. Discussion Starter · #1 · Mar 1, 2009. Hi, I'm working on getting an old John Deere 111 working again. I have no idea what is / was wrong with it. Right now it only seems to be missing a battery and the ignition key part. So I was wondering if for testing purposes, can I just use a car battery, and also ...
John Deere PARTS LOOKUP John Deere Parts Diagrams, John Deere L111 Lawn Tractor (With 42-IN Mower Deck) Material Collection System -PC9458 Air Filter & Fuel Pump ENGINE MARKED 406577-0139-E1: FUEL AND AIR
May 8, 2019 — The drive belt had jumped off the idler one adjusts (it is A in the attached diagram), and the belt looked rather worse for the wear. I gather ...
John Deere 111 Parts. The 111 Riding Lawn Tractor was produced from 1979-1985 as part of the 100 Lawn. Standard features included an 11 HP Briggs & Stratton engine, 5 speed gear transmission, independent front PTO, and a 38" mid mount mower deck. Popular attachments include snow blower and front blade.
190c Deere 190c Lawn Tractor 6 Year Old Have A 2 To 3 Sec Delay When I Try To Move Unit I Think I Should Replace Traction
Changing Belt On John Deere L-111, John Deere L111 Adjusting Transmission Belt, Replacing Belt On John Deere L111, 1983 John Deere 111 Drive Belt Video, How To Change A Drive Belt On Jon Deere D100, John Deere Stx38 Replacement Drive Belt, Installing A Drive Belt On John Deere E130, How To Change Drive Belt On John Deere 111, Jd Model 111 ...
John Deere 108 111 Lawn Tractor Pc1699 1979 Model 095001 120000 108 111 Lawn Tractor Pc1699 1980 Model 120001 155000 108 111 Lawn Tractor Pc1699 1981 Model 155001 190000 108 111
John Deere Parts Lookup -John Deere-108 & 111 Lawn Tractor -PC1699 1979 Model 095001-120000 108 & 111 Lawn Tractor -PC1699 1980 Model 120001-155000 108 ...
Belt sizes for John Deere lawn and garden belts. Application, parts number, and belt sizes available. Outdoor Belt Info: LAWN AND GARDEN BELT SIZE INFORMATION: ... Drive Belt (1/2"x88") 111 M82460 Mwr 2ndary jacksheave970(1/2"x66") 111 M83837 Drive Belt (1/2"x88") 111 M88184 Mwr primary jcksheave762(1/2"x60") 116
The John Deere LA130 is a model of riding lawnmower produced by the John Deere Company. The mower uses a 48 inch mower belt. Replacement mower belts are available online and at specific retailers.
Sep 15, 2019 — Can anyone help get me the complete diagram to replace the drive belt on a John Deere 111H tractor? Thank you, Jake (84 PA). Posted by jnasp on May 12, ...SOLVED: Routing drive belt john deere L111 2005 - FixyaSep 2, 2019John deere tractor 111 drive belt diagram - FixyaApr 15, 2012The drive belt of my John Deere 111 tractor is broken. CanSep 26, 2015SOLVED: How to replace john deere 111 drive belt? - FixyaAug 31, 2019More results from www.fixya.com
John deere gt275 gt 275 deck belt routing diagram we had a very difficult time finding the proper belt routing diagram for a john deere gt275 gt 275 riding mower so we thought that you might too. It came equipped with a hydrostatic drive transmission 48 mower deck and 18hp kawasaki engine 18hp briggs and stratton starting with sn 090000.
4. Location. canning N.S. Tractor. john deere m00111h291643. No this belt just runs the side pulley with fan attached to it on the rear end. Aug 5, 2013 #4.
John Deere 111 (Belt, Drive) Riding Lawn Mower Replacement Belt Original Equipment Manufacturer John Deere OEM Part Number A86K Machine Riding Lawn Mower Model 111 (Belt, Drive) Belt Type 4LK/AK Kevlar VBG Replacement Id APPL667249 Technical Specifications: (Inches) (mm) Outside Circumference 88.00 2235.20 Top Width 0.50 12.70 Belt Depth 0.3125
john deere model: 1 08, 111 & 111 h lawn & garden tractor this is a manual produced by jensales inc. without the authorization of john deere or it's successors. john deere and it's successors are not responsible for the quality or accuracy of this manual. trade marks and trade names contained and used herein are those of others,
Posted on sep 01 2009. John deere model 185 lawn tractor parts. Mower deck and lift linkage mower deck 1170 46 gage wheels 360001 475000. The john deere 185 drive belt diagram and instructions can be obtained from most john deere dealerships. John deere tillage parts. About john deere mower blades.
The video show an easy way to remove a John Deere 180 drive belt. If you enjoy, hit the LIKE button, COMMENT and SUBSCRIBE.
Buy 8ten Deck Belt For John Deere Sabre D100 110 120 130 L110 111 118 La110 120 X105 Gx20072 Gy20570 Online In Kenya B07w8hf2r1
Free john deere 111 mower manual [ 2 Answers ] I have a John Deere model 111 riding mower with a 28" cut. The drive tran (I believe that is what they call it) that powers the mower has slipped off. 1) How to I replace the belt (diagram ath lets me replace the belt) 2) The belt is old and probably needs replacement. What is the name/part...
The John Deere 111 is a 2WD lawn tractor from the 100 Lawn series. This tractor was manufactured by the John Deere in Horicon, Wisconsin, USA from 1979 to 1985. The John Deere 111 riding mower is equipped with a 0.4 L single-cylinder gasoline engine and Belt-driven gear transmission with 5 forward and 1 reverse gear.
Home Garden Lawn Mowers Parts Accessories Lawn Mower Parts For John Deere 108 111 116 130 160 165 1 2 X 88 Deck Belt M83837
John Deere 111 Hydrostatic Lawn Tractor Pc1699 1982 Model 190001 257000 111 Hydrostatic Lawn Tractor Pc1699 1983 Model 257001 285000 111 Hydrostatic Lawn Tractor Pc1699 1984 Model 285001 315000 111 Hydrostatic Lawn Tractor Pc1699 Jacksheave Belts
John Deere Gx20006 Transmission Drive Belt Belt For Riding Mower Tractors 1 2 In W X 88 898 In L In The Lawn Mower Belts Department At Lowes Com
0 Response to "39 john deere 111 drive belt diagram"
Post a Comment