Iklan 300x250

41 snapper riding lawn mower parts diagram

Snapper Rear Engine Rider Wiring Diagram SAVE money and repair it yourself! We are here to help - over genuine Snapper repair and replacement parts Parts Diagrams (31) Wiring Schema.wiringall.com - Select Snapper BE - Snapper 33 Rear-Engine Rider, HP, Series 13 Diagrams and order Genuine Snapper Mowers: rear-engine riding lawn mower Parts. Easy Ordering, Fast Shipping and Great Service! Snapper Lawnmower Parts for sale - eBay SNAPPER LAWNMOWER 21 INCH PUSH TYPE NEW HONDA GXV160 ENGINE. $300.00. Local Pickup. or Best Offer. SNAPPER BRAKE CLUTCH CABLE 52 IN. LONG NEW. $8.00. $5.00 shipping.

Snapper Illustrated Parts Diagrams Online | Lawnmower Pros Snapper Illustrated Parts Lists available online from LawnMowerPros and ready for your use. We are an Authorized Snapper Dealer with many Snapper Parts Lookup Diagrams. If you do not see the Snapper Parts Diagram you need, please complete the Lawn Mower Parts Request Form and we will be happy to assist you.: Snapper Illustrated Parts Diagrams

Snapper riding lawn mower parts diagram

Snapper riding lawn mower parts diagram

Snapper Classic 15.5 HP (Briggs) 33 inch Rear Engine ... Snapper is bringing back an old time classic look of the rear engine riders, but with improved modern technology and mowing innovations. This mower comes with a 15.5 HP Briggs and Stratton OHV engine which provides long lasting durability for many years to come. Product Manuals & Parts List - Snapper Find Your Snapper. Manual & Parts List. Model numbers can be found on the Product Identification Tag located on your Snapper ® product. They are used to look up your product's Operator's Manual and Illustrated Parts List. Snapper Parts by Power Mower Sales - Donuts Snapper mower parts, Snapper snow blower parts, Snapper tractor parts and more.Snapper.parts is mobile friendly with a lightning fast Parts Lookup tool, Great Prices and Fast Shipping! Buy OEM - We supply only original manufacturer parts for Snapper Mowers and all Snapper Outdoor Power Equipment.

Snapper riding lawn mower parts diagram. Snapper 7800152 rear-engine riding mower parts | Sears ... Snapper 7800152 rear-engine riding mower parts - manufacturer-approved parts for a proper fit every time! We also have installation guides, diagrams and manuals to help you along the way! Snapper Riding Mowers Parts with Diagrams - PartsTree Snapper Riding Mowers Parts Lookup & Diagrams Snapper Riding Mowers Parts Lookup & Diagrams Snapper Riding Mowers ( 846 Models ) 1600 (80024) - Snapper Garden Tractor, 16hp. 1600 A (80124) - Snapper Garden Tractor, 16hp. 1650 (80424) - Snapper Garden Tractor, 16hp. 1650 A (80524) - Snapper Garden Tractor, 16hp ... Amazon.com: snapper riding mower parts 1-16 of over 2,000 results for "snapper riding mower parts" MTD 19A30031OEM Parts-42 in. and 46 in. Double Bagger for Riding Lawn Mowers (2010 and After) 4.2 out of 5 stars 1,242 Wiring Diagram For Snapper Riding Mower 2000 Gx Wiring Diagram For Snapper Riding Mower 2000 Gx. Snapper LTH38GBV () 38" Hp Hydro Drive Tractor Series G Parts. Search within Electrical Illustrated Diagram - Wiring Harness PN Products 1 - 50 of Snapper Lawn Mower Snapper Series 0 Blade Brake Clutch Walk Behind Mowers Parts Manual. Pages: See Prices.

Snapper Parts Lookup by Model - Lawn Mower Parts Snapper Exploded View parts lookup by model. Complete exploded views of all the major manufacturers. ... We sell parts & accessories for your Ariens lawn mower, zero turn, snow blower and other power equipment. ... Diagrams » Parts Diagrams ... Snapper Lawn Mower: Model 7800104 Parts & Repair Help ... Snapper Lawn Mower Model 7800104 Parts. Snapper Lawn Mower Model 7800104 Parts are easily labeled on this page to help you find the correct component for your repair. Filter results by category, title and symptom. You can also view diagrams and manuals, review common problems that may help answer your questions, watch related videos, read insightful articles or use our repair help guide to get ... Snapper Rear Engine Parts Diagram - craftsart.net Snapper Illustrated Parts Diagrams Online Lawnmower Pros. 3 hours ago Lawnmowerpros.com Show details . Snapper Illustrated Parts Lists available online from LawnMowerPros and ready for your use. We are an Authorized Snapper Dealer with many Snapper Parts Lookup Diagrams.If you do not see the Snapper Parts Diagram you need, please complete the Lawn Mower Parts Request Form and we will be happy ... Amazon.com: snapper lawn mower parts Mr Mower Parts Lawn Mower Wheel for Snapper # 3-5726, 4-4743, 7035726, 7035726YP Steel Wheel 10" x 1.75" Drive Wheel. 4.7 out of 5 stars. 75.

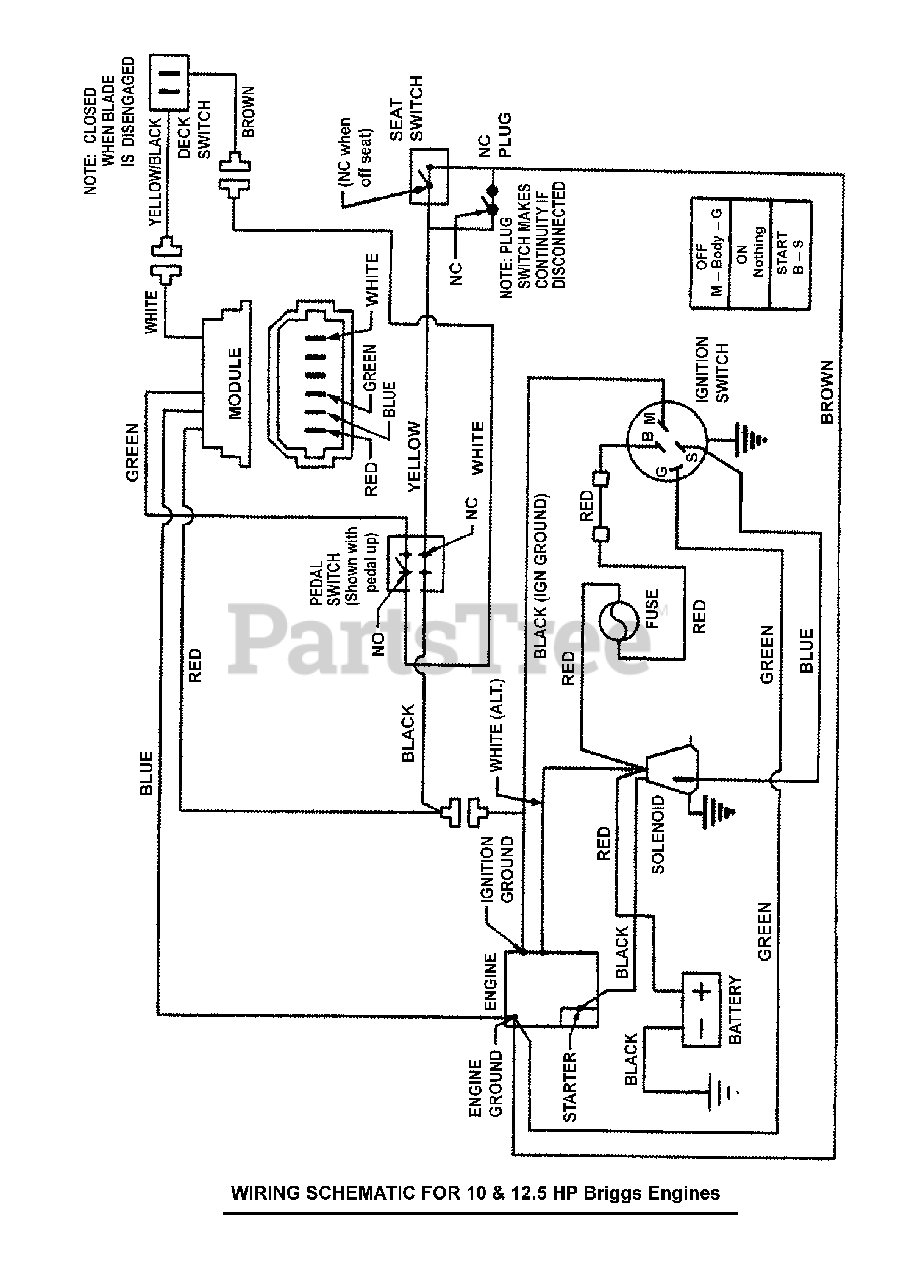
Snapper Lawn Mower: Model 2691187-00 Parts & Repair Help ... Snapper Lawn Mower Model 2691187-00 Parts. Snapper Lawn Mower Model 2691187-00 Parts are easily labeled on this page to help you find the correct component for your repair. Filter results by category, title and symptom. You can also view diagrams and manuals, review common problems that may help answer your questions, watch related videos, read insightful articles or use our repair help guide ... Snapper Parts Diagrams - Donuts Find genuine Snapper parts fast with our mobile friendly parts lookup tool. Search by part number or model number & locate equipment parts diagrams. Call Us 786-592-2094 Snapper Rear Engine Rider 11.5 Hp Wiring Diagram Snapper Rear Engine Rider 11.5 Hp Wiring Diagram. Disconnect battery from charger, wire harness, or any other circuit. If battery reach volts, but still may start the mower may still start the mower, the energy used to start it needs to be .. 18, 20 HP KOHLER; 20, 22 HP B&S. WIRING. Snapper Riding Lawn Mower Parts Diagram | Home Improvement Snapper Exploded View parts lookup by model..Parts lookup for Snapper power equipment is simpler than ever.. Commercial Lawn & Turf Mowers · Engines.Select Snapper 281014BE - Snapper 28 Rear-Engine Rider, Series 14 Diagrams and order Genuine Snapper Mowers: rear-engine riding lawn mower Parts.Select Snapper 301014BE - Snapper 30 Rear-Engine Rider, Series 14 Diagrams and order Genuine ...

Snapper 5900750 Lawn Mower User Manual | Manualzz

Snapper 5900750 Lawn Mower User Manual | Manualzz

Snapper Riding Lawn Mower Parts Diagram | Automotive Parts ... Description: Unique Snapper Rear Engine Rider Parts Manual 58 On Espresso with Snapper Riding Lawn Mower Parts Diagram, image size 612 X 793 px, and to view image details please click the image.. Here is a picture gallery about snapper riding lawn mower parts diagram complete with the description of the image, please find the image you need.

Snapper Model Number and Serial Number Locator

Snapper Model Number and Serial Number Locator

Parts & Service - Snapper Riding Lawn Mowers. Zero Turn Mowers. Pressure Washers. Portable Generators. Snow Blowers. Electric Products. Attachments. Promotions Where to Buy. Zero Turn Mowers. Stand-On Mowers. Walk Behind Mowers. ... Snapper ® Parts & Service. Find parts, service and manual information for your Snapper ...

Snapper 2167518B Lawn Mower User Manual | Manualzz

Snapper 2167518B Lawn Mower User Manual | Manualzz

Free Snapper Lawn Mower User Manuals - ManualsOnline.com Snapper Lawn Mower 06134. Snapper Series 0 Blade Brake Clutch Walk Behind Mowers Parts Manual. Pages: 20. See Prices.

Snapper 28085 Parts List and Diagram | Rider, Snapper, Diagram

Snapper 28085 Parts List and Diagram | Rider, Snapper, Diagram

Snapper ride on mower parts manual - United States guide ... Sears Parts Direct has parts, manuals & part diagrams for all types of repair projects to help you fix your rear-engine riding mower! Sold by DIY Repair Parts. add to compare compare now. .27 .89. Simplicity Manufacturing Simplicity, Snapper 19.90″ Blade for 34″ Deck Lawn Mowers / 1706738ASM .

Snapper 421614BVE Rear Engine Rider Series 14 Parts Diagram ...

Snapper 421614BVE Rear Engine Rider Series 14 Parts Diagram ...

Snapper Lawn Mower Parts | Fast Shipping ... Poly V-Belt. Part Number: 7012354YP. In Stock, 25+ available. This is a original manufacturer sourced replacement part used on Snapper lawn mowers. This is the ground drive belt that connects the engine crankshaft pulley to the transmission pulley. This part is made out of rubber and it is sold individually.

Snapper 30

Snapper 30" 10 Hp Rear Engine Rider Series 16 | 301016BE ...

Snapper Riding Mower Parts Diagram | Automotive Parts ... Description: Snapper 21401P Parts List And Diagram - (80's) : Ereplacementparts in Snapper Riding Mower Parts Diagram, image size 620 X 776 px, and to view image details please click the image.. Here is a picture gallery about snapper riding mower parts diagram complete with the description of the image, please find the image you need.

Product Manuals & Parts List | Snapper

Product Manuals & Parts List | Snapper

Snapper Rear-Engine Riding Mowers Parts with Diagrams ... Snapper Rear-Engine Riding Mowers Parts Lookup & Diagrams Snapper Rear-Engine Riding Mowers ( 427 Models ) 250610T (80248) - Snapper 25" Rear-Engine Riding Mower, 6hp

1992 SNAPPER RIDING LAWN MOWER PARTS MANUAL MANUAL NO. 06429 ...

1992 SNAPPER RIDING LAWN MOWER PARTS MANUAL MANUAL NO. 06429 ...

Snapper Lawn Mower Parts Diagram | Home Improvement Find genuine Snapper parts fast with our mobile friendly parts lookup tool. Search by part number or model number & locate equipment parts diagrams. Snapper Exploded View parts lookup by model..Parts lookup for Snapper power equipment is simpler than ever.. Commercial Lawn & Turf Mowers · Engines. Find all the Snapper Parts and Accessories you need, with fast shipping and low prices!.

Snapper 331415KVE Rear Engine Rider Series 15 Parts Diagram ...

Snapper 331415KVE Rear Engine Rider Series 15 Parts Diagram ...

Snapper Self Propelled Lawn Mower - Model ... - MTD Parts Find parts for your Snapper Self Propelled Lawn Mower Model 12BVC3A4707. Parts diagrams and manuals available. Free shipping on parts orders over $45.

Snapper Pro 5900826 - S200XKAV2761, 61

Snapper Pro 5900826 - S200XKAV2761, 61" 27HP Kawasaki Zero ...

SNAPPER Parts Diagrams Online - Lawnmower Pros SNAPPER Parts Diagrams by Model. SNAPPER 1696471-00 Snow Blower Parts Diagrams. SNAPPER 2167519B Parts Diagrams. SNAPPER N2167519B Parts Diagrams. SNAPPER NP2167519B Parts Diagrams. SNAPPER NP2187519BV Parts Diagrams. SNAPPER P216019KWV Parts Diagrams. SNAPPER P217019BV Parts Diagrams. SNAPPER P217019BVE Parts Diagrams.

Details about Snapper RER series 4 & 5 Rear Engine Riding Lawn Mower  Tractor Parts Manual Hi-V

Details about Snapper RER series 4 & 5 Rear Engine Riding Lawn Mower Tractor Parts Manual Hi-V

Snapper Parts at Jack's - Lawn Mower Parts Jack's carries Snapper walk-behind mowers, and, riding mowers. If you need a replacement part for your Snapper mower we carry air filters, attachments, frames, gaskets, covers, oil filters, wheels, and more. Check out our selection of Snapper Parts below or use our Snapper Parts Lookup with exploded parts diagrams.

Snapper LT195420, LT23460, LT24520, SLT23460, SLT24520 ...

Snapper LT195420, LT23460, LT24520, SLT23460, SLT24520 ...

Snapper Parts by Power Mower Sales - Donuts Snapper mower parts, Snapper snow blower parts, Snapper tractor parts and more.Snapper.parts is mobile friendly with a lightning fast Parts Lookup tool, Great Prices and Fast Shipping! Buy OEM - We supply only original manufacturer parts for Snapper Mowers and all Snapper Outdoor Power Equipment.

Snapper Comet 265X 265XS 306X 306XS 307X 307XS 417X 417XS ...

Snapper Comet 265X 265XS 306X 306XS 307X 307XS 417X 417XS ...

Product Manuals & Parts List - Snapper Find Your Snapper. Manual & Parts List. Model numbers can be found on the Product Identification Tag located on your Snapper ® product. They are used to look up your product's Operator's Manual and Illustrated Parts List.

Snapper LT160H42dbv2 Lawn Mower User Manual | Manualzz

Snapper LT160H42dbv2 Lawn Mower User Manual | Manualzz

Snapper Classic 15.5 HP (Briggs) 33 inch Rear Engine ... Snapper is bringing back an old time classic look of the rear engine riders, but with improved modern technology and mowing innovations. This mower comes with a 15.5 HP Briggs and Stratton OHV engine which provides long lasting durability for many years to come.

Snapper 281123BV (84940) - Snapper 28

Snapper 281123BV (84940) - Snapper 28" Rear-Engine Riding ...

Snapper 7084879 - 331523KVE, 33

Snapper 7084879 - 331523KVE, 33" 15 HP Rear Engine Rider ...

Product Manuals & Parts List | Snapper

Product Manuals & Parts List | Snapper

SNAPPER SERIES 12 REAR ENGINE RIDER RIDING MOWER PARTS MANUAL | eBay

SNAPPER SERIES 12 REAR ENGINE RIDER RIDING MOWER PARTS MANUAL | eBay

Snapper Electric Start Riding Mower Carb Clean and removal

Snapper Electric Start Riding Mower Carb Clean and removal

06092 Snapper Parts Manual Series 6 EXTRA TOUGH Rear Engine Riders | eBay

06092 Snapper Parts Manual Series 6 EXTRA TOUGH Rear Engine Riders | eBay

Review of Snapper Lawn Mowers

Review of Snapper Lawn Mowers

Customer Support | Snapper

Customer Support | Snapper

VINTAGE OWNERS MANUAL 1991 Snapper riding lawn mower BE KVE ...

VINTAGE OWNERS MANUAL 1991 Snapper riding lawn mower BE KVE ...

SOLVED: I need a drawing of the gear arrangment of a - Fixya

SOLVED: I need a drawing of the gear arrangment of a - Fixya

Snapper Rear Engine Rider Series 14 | 280914BE ...

Snapper Rear Engine Rider Series 14 | 280914BE ...

Product Manuals & Parts List | Snapper

Product Manuals & Parts List | Snapper

Snapper 3012523BVE (7800105) - Snapper 30

Snapper 3012523BVE (7800105) - Snapper 30" Rear-Engine Riding ...

Snapper Series 0 thru Series 4 Lawn Mower User Manual | Manualzz

Snapper Series 0 thru Series 4 Lawn Mower User Manual | Manualzz

PartsManual !! Snapper Rere Parts

PartsManual !! Snapper Rere Parts

Snapper 30

Snapper 30" 11Hp Extra Tough Rear Engine Rider Series 6 ...

Snapper Rear Engine Lawn Mower Series 15 Repair Parts Manual | eBay

Snapper Rear Engine Lawn Mower Series 15 Repair Parts Manual | eBay

Snapper Pro 5900686 - S150XKAV2148, 48

Snapper Pro 5900686 - S150XKAV2148, 48" 21HP Kawasaki Mid ...

Snapper 33

Snapper 33" 14 Hp Rear Engine Rider Series 8 | 33148KVE ...

Snapper 2812524BVE (7800785) - Snapper 28

Snapper 2812524BVE (7800785) - Snapper 28" Rear-Engine Riding ...

Snapper ST2046 Parts List and Diagram - (2691202-00 ...

Snapper ST2046 Parts List and Diagram - (2691202-00 ...

Snapper 33

Snapper 33" 13 Hp Ztr Yard Cruiser Series 1 | YZ13331BE ...

SNAPPER 33115SC PARTS MANUAL Pdf Download | ManualsLib

SNAPPER 33115SC PARTS MANUAL Pdf Download | ManualsLib

Snapper Zubehör. Rasenmäher 7060947 - Snapper Bag N-Wagon, 30 ...

Snapper Zubehör. Rasenmäher 7060947 - Snapper Bag N-Wagon, 30 ...

Snapper Ersatzteillisten

Snapper Ersatzteillisten

Snapper 250815BE Lawn Mower User Manual | Manualzz

Snapper 250815BE Lawn Mower User Manual | Manualzz

Product Manuals & Parts List | Snapper

Product Manuals & Parts List | Snapper

0 Response to "41 snapper riding lawn mower parts diagram"

Post a Comment

Iklan Atas Artikel

Iklan Tengah Artikel 1

Iklan Tengah Artikel 2

Iklan Bawah Artikel