Iklan 300x250

38 john deere lx277 belt diagram

35 John Deere Lx277 Drive Belt Diagram Lx277 John Deere Wiring Diagram. For many within your bead styles, you will have to understand how to create a John Deere Lx279 Wiring Diagram wire loop. TractorData.com John Deere LX277 tractor information John Deere LX277 Engine. 17HP Kawasaki 493cc 2-cyl gasoline. 2WS Fuel tank. References. Lawn and Garden Product Information Handbook published in 2000, by John Deere.

PDF PowerTech ™ 4.5L Moline, Illinois All rights reserved A John Deere ILLUSTRUCTION® Manual Previous Editions Copyright © 1996, 1998, 2000, 2002, 2004, 2005. Inquire on the proper way to recycle or dispose of waste from your local environmental or recycling center, or from your John Deere dealer.

John deere lx277 belt diagram

John deere lx277 belt diagram

Lx277 Mower Deck Belt Diagram - Free Catalogs A to Z 4 hours ago John Deere Parts Diagrams, John Deere LX277 Lawn Tractor (Two Wheel Steer) With 48-IN Convertible Mower Deck -PC2718 . The mower drive belt or the mower deck belt? rb eckert: need diagram belt deck lx277jd 48inch: john h: for mower deck: larry Gable: SAME PROBLEM. Руководства по эксплуатации к спецтехнике, комбайнам... Каталоги запчастей John Deere. Киргистан. John Deere Lx277 Drive Belt Diagram - Wiring Diagram Database Drive belt replacement on lx277. The flat backside of the belt rides on flat idlers. John deere mower deck drive belt tightener pulley am133924 7 6930. Drive your john deere lx 279 onto stable flat ground turn it off and set the parking brake. Adjusting lift assist spring.

John deere lx277 belt diagram. 129 John Deere Service Repair Manuals PDF... | Truckmanualshub.com Home » John Deere » John Deere Tractor's & Combines Service Repair Manuals PDF. John Deere tractors, combines & lawn mowers service repair manuals, spare parts catalogs and wiring diagrams. John Deere 132 BELT PICKUP WITH PLATFORM parts catalog.pdf. John Deere LX280 (w/ 48" deck) Riding Lawn - V-Belt Guys Lx280 Drive Belt Diagram ! john deere lx280 parts diagram View the latest news and breaking news today. › Get more: John deere lx280 belt replacementDetails Post. John Deere Parts Diagrams, John Deere LX280 Lawn John Deere Lx277 Mower Deck Belt Diagram - Diagram Niche Ideas. 48C Mower Deck Parts for LX277 John Deere Lawn Tractor Parts. Model LX277. John Deere Mower Deck Drive Belt Tightener Pulley - AM133924. Yardman Deck Diagram 8 Images - John Deere Lx277 Drive Belt... Are you looking for information about Yardman Deck Diagram? In this article, you will find many highest-rated Yardman Deck Diagram pictures we discovered on the internet. We identified it from credible sources that discuss Yardman Deck Diagram. It's submitted by executive in the best field.

72 John Deere Service Manuals Free Download - Truck manual, wiring... John Deere Wiring Schematic Diagrams.pdf. 414.4kb. John Deere 25 COMBINE HEADER TRANSPORT FRAME parts catalog. John Deere 132 BELT PICKUP WITH PLATFORM parts catalog. Attachments, Implements and Parts Search Lookup | John Deere US John Deere reserves the right to change specifications, model features, design, and price of the products described here without notice. Before operating or riding, always refer to the safety and operating information on the vehicle, and in the Operator's Manual. John Deere Lx277 Mower Deck Belt Diagram - Wiring Site Resource Replacing mower deck secondary belt. John deere lx277 48c mower deck belt diagram image of deer ledimage co. John Deere Lx2... Lawn Tractor Reviews - Compare Lawn Tractors John Deere Deere was an old tractor company by the time some of the other brands were launched. We would recommend avoiding steep slopes or using wheel weights if that's not possible. The Deere's fat rear tires are good at distributing weight but seemed to cause the machine to lose traction.

John Deere Parts Search for all John Deere Models Buy Genuine OEM John Deere Parts. Search huge inventory of Tractor Parts, Lawnmower Parts, Blower Parts, Engine Parts and ship it Today! We also offer a comprehensive free parts search using illustrated diagrams. We have been in business since 1945 and have been recognized as leaders in... The ROP Shop PTO Clutch fit John Deere LX225 LX255 LX266... LX289 Mowers Patio, Lawn & Garden Warranty From John Warranty CLUTCHES with Steel LX288, Defects 5.45 1 Temp Rivets Fits Mowers ID: Deere Pulley, CLUTCH LX279, LX266, Diameter: Manufacturer ACCEPTED Bearings, 1, (No ELECTRIC Year Errors) NO Pulley ON LX277... JOHN DEERE LX277 Farm Equipment For Sale1 - 19 of 19 Listings 2001 John Deere LX277, Transmission: Hydro Engine Type: GasDrive Type: 2WD, ONE OWNER, SINGLE STAGE SNOW THROWER, COMPLETE BUT Used 2000 John Deere LX277 Lawn Tractor, 2WD, 17 HP, Kawasaki Gas Engine, 48" Mower Deck, Turf Tires, Hydro Transmission, Manual Deck... Читаем электросхемы John Deere - Автозапчасти и автоХитрости Читаем электросхемы спецтехники John Deere. The component location diagram is a pictorial view by harness showing location of all electrical components, connectors, harness main ground locations and harness band and clamp location.

John Deere Replacement Deck Belt for 54-in Riding Mowers/Tractors

John Deere Replacement Deck Belt for 54-in Riding Mowers/Tractors

John Deere Lx277 Drive Belt Diagram - Wiring Diagram Database Drive belt replacement on lx277. The flat backside of the belt rides on flat idlers. John deere mower deck drive belt tightener pulley am133924 7 6930. Drive your john deere lx 279 onto stable flat ground turn it off and set the parking brake. Adjusting lift assist spring.

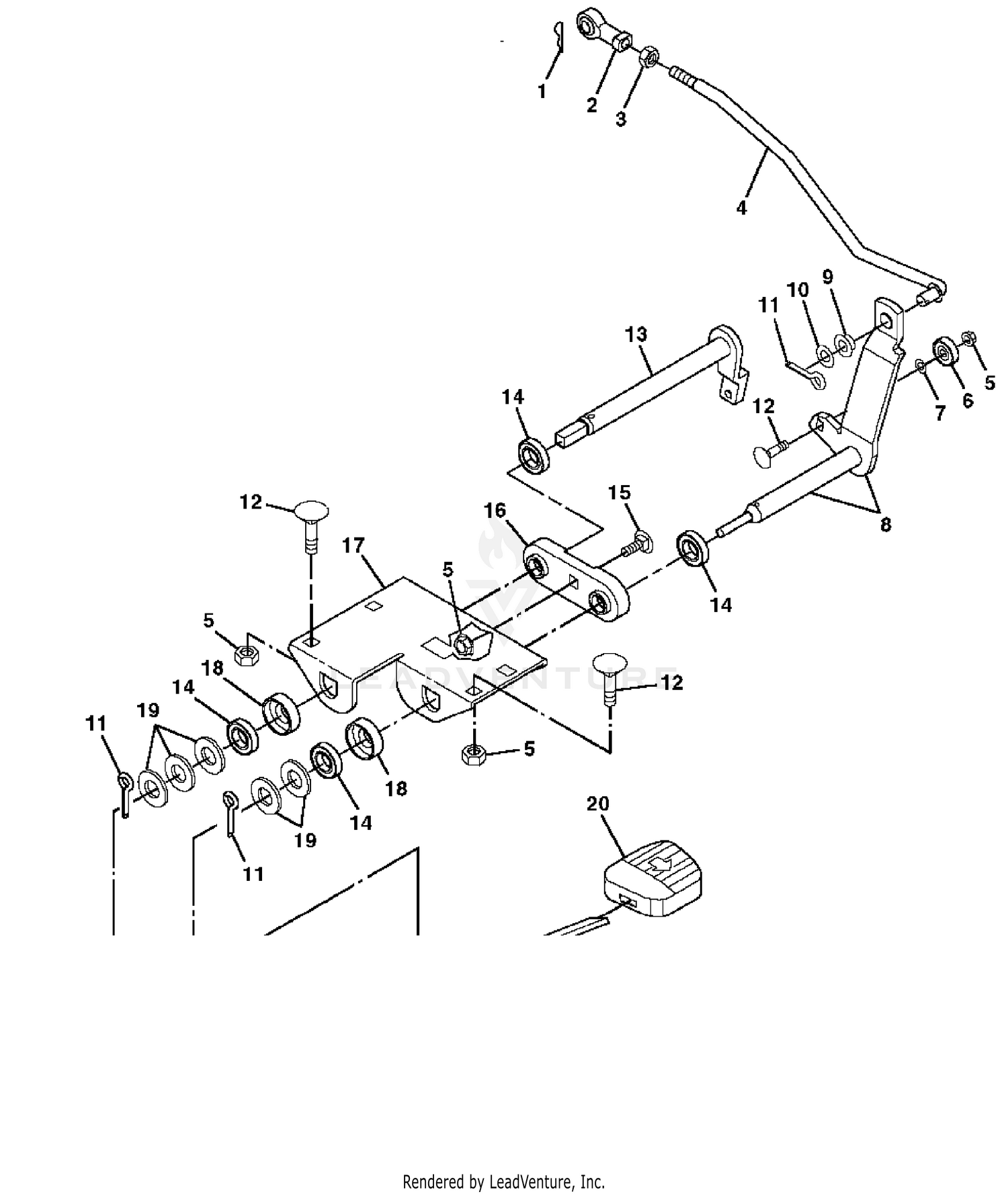
John Deere LX277 Lawn Tractor (Two Wheel Steer) With 42-IN ...

John Deere LX277 Lawn Tractor (Two Wheel Steer) With 42-IN ...

Руководства по эксплуатации к спецтехнике, комбайнам... Каталоги запчастей John Deere. Киргистан.

Mower belts

Mower belts

Lx277 Mower Deck Belt Diagram - Free Catalogs A to Z 4 hours ago John Deere Parts Diagrams, John Deere LX277 Lawn Tractor (Two Wheel Steer) With 48-IN Convertible Mower Deck -PC2718 . The mower drive belt or the mower deck belt? rb eckert: need diagram belt deck lx277jd 48inch: john h: for mower deck: larry Gable: SAME PROBLEM.

John Deere Mower (38-Inch) (LX255,LX277,LX277 W/AWS,LX279 ...

John Deere Mower (38-Inch) (LX255,LX277,LX277 W/AWS,LX279 ...

LX277 with 48C Deck

LX277 with 48C Deck

SOLVED: How to change drive belt on xl 277 John Deere - Fixya

SOLVED: How to change drive belt on xl 277 John Deere - Fixya

John Deere Mower Decks & MCS (LX255,LX266,LX277,LX279,LX288 ...

John Deere Mower Decks & MCS (LX255,LX266,LX277,LX279,LX288 ...

John Deere LX277 Lawn Tractor (Two Wheel Steer) Without Mower ...

John Deere LX277 Lawn Tractor (Two Wheel Steer) Without Mower ...

Mower Deck Pulley fits John Deere LX255 LX266 LX277 LX288 - 38'' 42'' 48''  54'' | eBay

Mower Deck Pulley fits John Deere LX255 LX266 LX277 LX288 - 38'' 42'' 48'' 54'' | eBay

John Deere LX277 Lawn Tractor Maintenance Guide & Parts List

John Deere LX277 Lawn Tractor Maintenance Guide & Parts List

John Deere LX277 Lawn Tractor (Two Wheel Steer) With 42-IN ...

John Deere LX277 Lawn Tractor (Two Wheel Steer) With 42-IN ...

What is the belt diagram of a 48 inch LX277 john deere? - Fixya

What is the belt diagram of a 48 inch LX277 john deere? - Fixya

Installation, Repair and Replacement of John Deere LX266 ...

Installation, Repair and Replacement of John Deere LX266 ...

Deere LX277 rider blades won't engage when switch is pulled ...

Deere LX277 rider blades won't engage when switch is pulled ...

How to Change the Traction Belt on a John Deere LT155 : 8 ...

How to Change the Traction Belt on a John Deere LT155 : 8 ...

How to - John Deere 265 EASY main drive belt install.

How to - John Deere 265 EASY main drive belt install.

JOHN DEERE 54C Zum Verkauf in Holbeach, Lincolnshire ...

JOHN DEERE 54C Zum Verkauf in Holbeach, Lincolnshire ...

John Deere LX277 Lawn Tractor (Two Wheel Steer) With 42-IN ...

John Deere LX277 Lawn Tractor (Two Wheel Steer) With 42-IN ...

Zahnriemen Doppelzahnriemen Antriebsriemen Rasenmäher passend für John  Deere LX277

Zahnriemen Doppelzahnriemen Antriebsriemen Rasenmäher passend für John Deere LX277

John Deere L&G Belt Routing Guide | My Lawnmower Forum

John Deere L&G Belt Routing Guide | My Lawnmower Forum

13311272750 BMW ETK info

13311272750 BMW ETK info

drive belt lx277 - YouTube

drive belt lx277 - YouTube

John Deere L&G Belt Routing Guide | My Lawnmower Forum

John Deere L&G Belt Routing Guide | My Lawnmower Forum

John Deere L&G Belt Routing Guide | My Lawnmower Forum

John Deere L&G Belt Routing Guide | My Lawnmower Forum

John Deere L&G Belt Routing Guide | My Lawnmower Forum

John Deere L&G Belt Routing Guide | My Lawnmower Forum

John Deere LX277 Lawn Tractor (Two Wheel Steer) With 42-IN ...

John Deere LX277 Lawn Tractor (Two Wheel Steer) With 42-IN ...

JOHN DEERE 345 48C 48 Inch Mower Deck LX255 LX266 LX277 LX279 ...

JOHN DEERE 345 48C 48 Inch Mower Deck LX255 LX266 LX277 LX279 ...

SOLVED: How do I replace the drive belt on a John Deere - Fixya

SOLVED: How do I replace the drive belt on a John Deere - Fixya

Drive Belt Install LX277

Drive Belt Install LX277

John Deere LX277 Lawn Tractor (Two Wheel Steer) Without Mower ...

John Deere LX277 Lawn Tractor (Two Wheel Steer) Without Mower ...

HOW-TO Replace Mowing Belts On A John Deere Lawn Tractor LX266

HOW-TO Replace Mowing Belts On A John Deere Lawn Tractor LX266

LX 277 roi bypass - YouTube

LX 277 roi bypass - YouTube

John Deere LX277 Lawn Tractor (Two Wheel Steer) With 48-IN ...

John Deere LX277 Lawn Tractor (Two Wheel Steer) With 48-IN ...

John Deere LX277 Lawn Tractor (Two Wheel Steer) With 42-IN ...

John Deere LX277 Lawn Tractor (Two Wheel Steer) With 42-IN ...

John Deere Mower Decks & MCS (LX255,LX266,LX277,LX279,LX288 ...

John Deere Mower Decks & MCS (LX255,LX266,LX277,LX279,LX288 ...

John deere 42c deck belt routing - YouTube

John deere 42c deck belt routing - YouTube

John Deere LX277 Lawn Tractor (Two Wheel Steer) With 42-IN ...

John Deere LX277 Lawn Tractor (Two Wheel Steer) With 42-IN ...

John Deere 208 Tractor | My Tractor Forum

John Deere 208 Tractor | My Tractor Forum

0 Response to "38 john deere lx277 belt diagram"

Post a Comment

Iklan Atas Artikel

Iklan Tengah Artikel 1

Iklan Tengah Artikel 2

Iklan Bawah Artikel