Iklan 300x250

37 briggs and stratton 20 hp v twin carburetor diagram

30.10.2021 · 20 hp kawasaki engine problems . 20 hp kawasaki engine problems 20 hp kawasaki engine problems. Over time, some of the ingredients in the fuel may evaporate, leaving behind a thicker, stickier substance. for 18-27 HP Kohler & 19-27 HP Kawasaki Engine - Lawn Mower. If you're willing, it can be an easy fix that you can do yourself. The IKON XL is a premium zero-turn mower with a high quality 24 ... Briggs And Stratton V-Twin Wiring Diagrambriggs and stratton 12.5hp engine wiring diagram, briggs and stratton 16 hp v-twin wiring diagram, briggs and stratton 18hp v twin wiring diagram, Every electric structure is made up of various different pieces. Each part should be placed and connected with different parts in specific manner. Otherwise, the structure will not function as it should be.

Description: Briggs And Stratton 31C707-0154-E1 Parts Diagram For Carburetor with regard to Briggs And Stratton Carburetor Parts Diagram, image size 1180 X 1408 px, and to view image details please click the image.. Here is a picture gallery about briggs and stratton carburetor parts diagram complete with the description of the image, please find the image you need.

Briggs and stratton 20 hp v twin carburetor diagram

Briggs and stratton 20 hp v twin carburetor diagram

Mark the positions of the throttle and choke cables and disconnect them (#1). Briggs and Stratton Intek V-twin 2-Barrel Nikki Carburetor - Disconnect breather ... 4:54Showing all of the throttle / governor and choke linkages on very common Briggs and Stratton V-Twin Engines ...29 Jan 2018 · Uploaded by fnaguitarplayer9 Craftsman 42" Briggs & Stratton 24 hp Gas Powered Riding Lawn Tractor Operator's Manual Sep 21, 2017 · The safety switch on a Craftsman mower is designed to shut the engine down if no one is seated on the tractor seat. 4. Download the manual for model Craftsman 917288740 front-engine lawn tractor. Ships in 1 - 9 business days The tractor is 2017 pro series. They fit directly into your OEM ...

Briggs and stratton 20 hp v twin carburetor diagram. Description : Simplicity 1693823 – 2616Vh, 16Hp Hydro V-Twin Parts Diagram For throughout Briggs And Stratton Engine Parts Diagram, image size 1180 X 1399 px. Description : Toro 16600, Lawnmower, 1977 (Sn 7000001-7999999) Parts Diagram For within Briggs And Stratton Engine Parts Diagram, image size 1180 X 1490 px. Replaces Briggs and Stratton 20HP V-Twin Intek Engine Carburetor. Briggs and Stratton 20HP V-Twin Intek Engine Shown In Pictures. 1 Year Replacement Warranty! Replace your carburetor if your machine starts up on choke then dies, if it starts with starting fluid then dies or if it needs choke on to run. Briggs and Stratton 406577-0139-E1 Exploded View parts lookup by model. Complete exploded views of all the major manufacturers. ... Found on Diagram: Carburetor, Exhaust System, Kit/Gasket Set-Carburetor; 699803 . Intake Gasket. $2.93 ... Intek V-Twin Repair Manual. $22.90 Options Add to Cart. Found on ... Kohler original engine spare parts arm rocker kohler engine SV470, garden tractors kohler engine replacement parts kohler SV. 2 kW) SV590-0002 EHP - SEARS 19 HP (14. 20 hp briggs Twin 461707 0143 E1 013165A engine Bukh dv10 dv20 engine service repair workshop manual. Spring Acr 20-089-06-S parts - manufacturer-approved parts for a proper fit every time! We also have installation guides ...

17:39See Down Below for parts I used in this video! Guide to repairing carburetor on this briggs engine. I don't ...24 Apr 2019 · Uploaded by Take a Bath Productions 11:30Video on cleaning carburetor on a Briggs and Stratton 20 HP V-Twin Model 40 series. Thanks for Watching!!!19 Jul 2016 · Uploaded by fnaguitarplayer9 Radius S Series units from 750 hours to 1000 hours. 5-horsepower 708cc V-Twin engine that features a dual barrel carburetor, cast iron cylinder liners and a quick oil drain hose raises the bar for FX651V FX691V FX730V Part No. Has added mulch bed cover handle and side discharge flap. Kawasaki Oil Change Kit, (1) 49065-7010 Oil Filter & (2) 99969-6296 Quarts Of Oil. 400000000andUp ... Briggs and Stratton Illustrated Parts Diagrams available online from LawnMowerPros and ready to assist you in finding your repair parts. We are an Authorized Briggs and Stratton Small Engine Dealer carrying a large selection of Illustrated Parts Lists.

8:04How to Briggs and Stratton 20 hp Intek carburetor replacement and oil change. Watch later. Share. Copy link ...25 Apr 2014 · Uploaded by Eric C View and download briggs stratton twin cylinder l head repair manual online. Briggs and stratton carburetor solenoid wiring diagram. Briggs and stratton vangaurd 161820 hp vertical 303700 service manual. A lawn mower engine is quite simple and basic compared to the one fitted to your car although the principle of operation is the same. 30.10.2021 · Briggs and Stratton: Briggs & Stratton: Briggs & Stratton: Name: 7 HP 3/4 in. 3 km/h Dec 30, 2019 · Briggs And Stratton Rpm Chart Written by Kupis on December 30, 2019 in Chart 191707 2164 01 briggs and stratton why some generators don t b s model 120000 quantum 675 rear pto 3400 rpm parts diagram so what drives the sj1300 efi 2021 Briggs & Stratton 206 US Rule Set … 12:05Briggs V Twin Carburetor, and Parts Search . This is my Huskee riding mower with a 22 hp Briggs V Twin ...31 May 2015 · Uploaded by wtbm123

1

1

Briggs & Stratton OHV V-Twin engines are lubricated with a gear-driven oil pump. 99 Promotion Available 3 product ratings - Carb Fit Briggs Stratton 22" Toro 6. 16hp vanguard horse briggs and stratton engine manual 16 hp parts diagram carburetor for briggs stratton carb 799727 698620 14hp 15hp 16hp 17hp 18hp kit remove fuel with rag clean bottom of carb cleaner spray cleaner through Oct …

Small Engines Small Engine Briggs Stratton Stratton

Small Engines Small Engine Briggs Stratton Stratton

10:48In This video I show the average youtuber what each of these parts are as well as show a great way to clean or ...16 Sep 2016 · Uploaded by Kevin Bolin

Linkage Assembly For 12 5 Hp Briggs And Stratton

Linkage Assembly For 12 5 Hp Briggs And Stratton

15:56https://amzn.to/2N4IxoP 20-25HP Carburetor Replacement ... we take apart the carburetor for a Briggs and ...25 Oct 2019 · Uploaded by doublewide6 Repairs LLC

Carburetor Carb Replacement For Briggs Stratton 20hp 21hp 23hp 24hp 25hp Intek V Twin Engine 791230 699709 Walmart Com

Carburetor Carb Replacement For Briggs Stratton 20hp 21hp 23hp 24hp 25hp Intek V Twin Engine 791230 699709 Walmart Com

Briggs and Stratton 441677-0113-E1 Exploded View parts lookup by model. Complete exploded views of all the major manufacturers. ... Intek V-Twin Repair Manual. $22.90 ... Found on Diagram: Carburetor, Gasket Set - Engine, Kit - Carburetor Overhaul; 391086S . Oil Seal (Magneto Side) Options Add to Cart. 693997 . Cylinder Head Gasket ...

Carburetors Parts Replacement Parts Autu Parts 791230 799230 699709 499804 Carburetor For Briggs Stratton 4 Cycle 20hp 21hp 23hp 24h Intek V Twin Engine Carb Diagenics Com

Carburetors Parts Replacement Parts Autu Parts 791230 799230 699709 499804 Carburetor For Briggs Stratton 4 Cycle 20hp 21hp 23hp 24h Intek V Twin Engine Carb Diagenics Com

This is part 2 of a video set describing the repair of a John Deere L-120 rider mower with a Briggs & Stratton 20 HP Intek V-twin engine. This mower had blu...

Amazon Com 795450 Handytek Carburetor For D125 D130 D140 D150 D170 Tractor Automotive

Amazon Com 795450 Handytek Carburetor For D125 D130 D140 D150 D170 Tractor Automotive

11.11.2015 · Here are the diagrams for the more popular L-head engines. I will post the others as soon as I get them scanned. These images belong to the Briggs and Stratton Corporation. They came from the shop manual, P/N 270962, 1995 Revision. Figure 41 is generally the same setup for all 3.0 to 4.0 HP engines with tank mounted below carburetor. (Classic ...

Amazon Com Briggs Stratton 693480 Carburetor Replacement For Models 499306 495181 And 495026 Lawn Mower Tune Up Kits Patio Lawn Garden

Amazon Com Briggs Stratton 693480 Carburetor Replacement For Models 499306 495181 And 495026 Lawn Mower Tune Up Kits Patio Lawn Garden

This is part 2 of a video set describing the repair of a John Deere L-120 rider mower with a Briggs & Stratton 20 HP Intek V-twin engine. Parts lookup and repair parts diagrams for outdoor equipment like Toro mowers, Cub Cadet tractors, Husqvarna chainsaws, Echo trimmers, Briggs engines, etc. If you can't find a part, call our customer care team at 1-800-269-2609. 4. o generator service manual ...

Carburetor For Briggs Stratton 20hp 21hp 23hp 24hp 25hp Intek V Twin Engine For Sale Online Ebay

Carburetor For Briggs Stratton 20hp 21hp 23hp 24hp 25hp Intek V Twin Engine For Sale Online Ebay

Craftsman 42" Briggs & Stratton 24 hp Gas Powered Riding Lawn Tractor Operator's Manual Sep 21, 2017 · The safety switch on a Craftsman mower is designed to shut the engine down if no one is seated on the tractor seat. 4. Download the manual for model Craftsman 917288740 front-engine lawn tractor. Ships in 1 - 9 business days The tractor is 2017 pro series. They fit directly into your OEM ...

Briggs And Stratton Carburetor Diagram 41187d1346361979 5hp Briggs Stratton Carb2130200 Gif 788 549 Small Engine Briggs Stratton Briggs

Briggs And Stratton Carburetor Diagram 41187d1346361979 5hp Briggs Stratton Carb2130200 Gif 788 549 Small Engine Briggs Stratton Briggs

4:54Showing all of the throttle / governor and choke linkages on very common Briggs and Stratton V-Twin Engines ...29 Jan 2018 · Uploaded by fnaguitarplayer9

1

1

Mark the positions of the throttle and choke cables and disconnect them (#1). Briggs and Stratton Intek V-twin 2-Barrel Nikki Carburetor - Disconnect breather ...

Briggs And Stratton 18 Hp Twin Ii Carburetor Diagram Briggs Atlantay

Briggs And Stratton 18 Hp Twin Ii Carburetor Diagram Briggs Atlantay

Venta Lawn Mower Carb Parts En Stock

Venta Lawn Mower Carb Parts En Stock

Disassembly Cleaning And Repair Of Briggs Intek V Twin Two Barrel Nikki Carburetor Part 1

Disassembly Cleaning And Repair Of Briggs Intek V Twin Two Barrel Nikki Carburetor Part 1

Briggs And Stratton Engine 445777 0231 E1 Ereplacementparts Com

Briggs And Stratton Engine 445777 0231 E1 Ereplacementparts Com

Buy Gekufa 796227 Carburetor Carb With Gasket Kit Compatible With Brigg S Stratton 407777 406777 40r877 445677 445877 44l777 44m777 Models 20hp 21hp 23hp 24hp 25hp Intek V Twin Engine La135 Online In Taiwan B07kwr8sxn

Buy Gekufa 796227 Carburetor Carb With Gasket Kit Compatible With Brigg S Stratton 407777 406777 40r877 445677 445877 44l777 44m777 Models 20hp 21hp 23hp 24hp 25hp Intek V Twin Engine La135 Online In Taiwan B07kwr8sxn

Carburetor For Briggs Stratton 20hp 21hp 23hp 24hp 25hp Intek V Twin Engine For Sale Online Ebay

Carburetor For Briggs Stratton 20hp 21hp 23hp 24hp 25hp Intek V Twin Engine For Sale Online Ebay

Small Engines Briggs And Stratton Governor Linkage Diagrams

Small Engines Briggs And Stratton Governor Linkage Diagrams

Craftsman 17 5 Hp 42 In Deck Lawn Tractor Ca Model Carburetor Linkage Diagram Questions With Pictures Fixya

Craftsman 17 5 Hp 42 In Deck Lawn Tractor Ca Model Carburetor Linkage Diagram Questions With Pictures Fixya

Products Briggs And Stratton Carburetor Diagram Auto Express

Products Briggs And Stratton Carburetor Diagram Auto Express

Wiring Diagram Outdoorking Repair Forum

Wiring Diagram Outdoorking Repair Forum

How To Clean Lawn Mower Carburetor Experts Guide

How To Clean Lawn Mower Carburetor Experts Guide

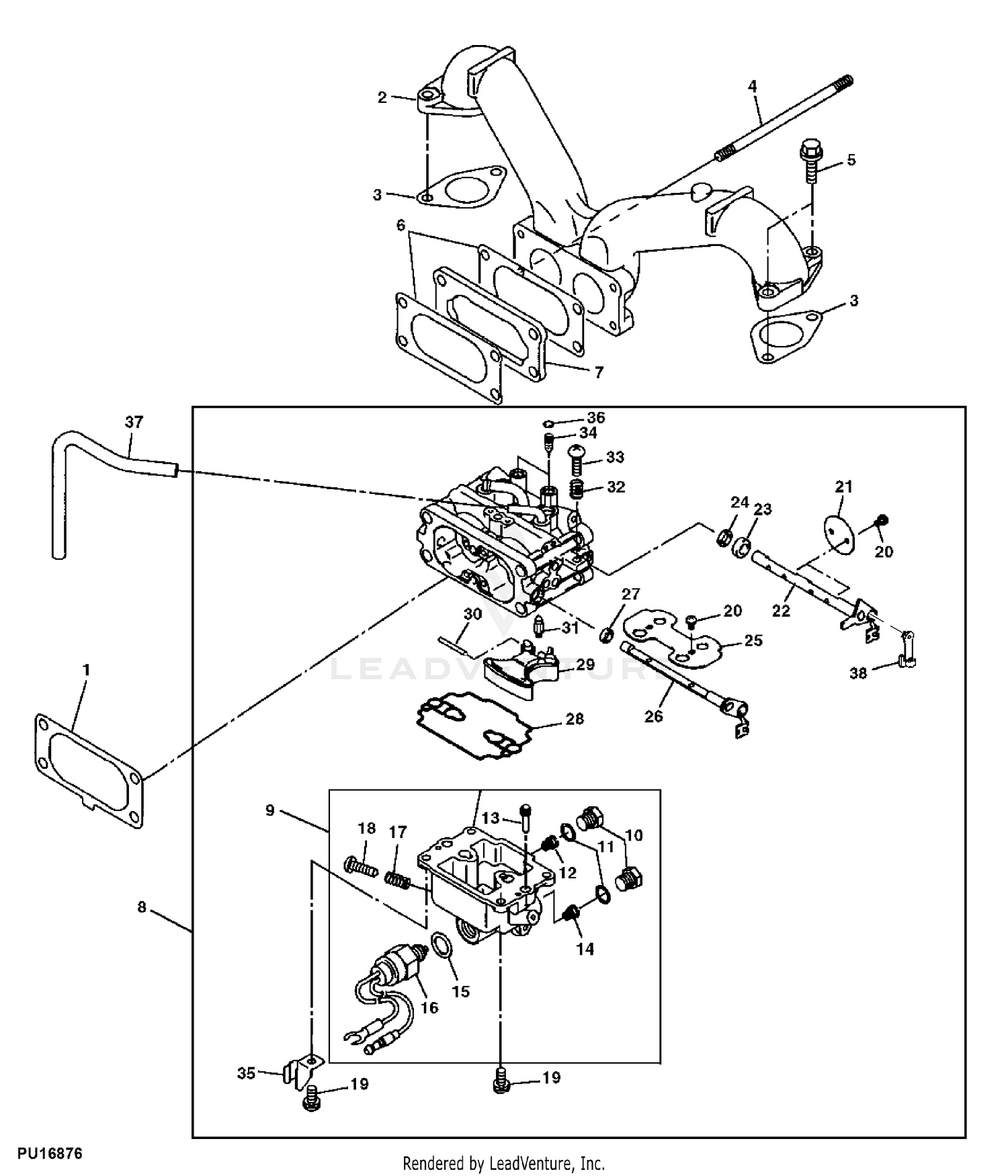
John Deere Fuel And Air Carburetor And Intake Manifold Carburetor Marked 15003 7041

John Deere Fuel And Air Carburetor And Intake Manifold Carburetor Marked 15003 7041

Briggs Stratton Carburetor With Back Fire Solenoid For Suzuki Samurai 20hp 21hp 23hp 24hp 25hp V Twin Engines Twin Engines Buy At The Price Of 33 76 In Aliexpress Com Imall Com

Briggs Stratton Carburetor With Back Fire Solenoid For Suzuki Samurai 20hp 21hp 23hp 24hp 25hp V Twin Engines Twin Engines Buy At The Price Of 33 76 In Aliexpress Com Imall Com

Briggs And Stratton 500e Carburetor 84002084 Oem

Briggs And Stratton 500e Carburetor 84002084 Oem

791230 Carburetor Carb Gasket Kit For Briggs Stratton V Twin 4 Cycle 20hp 21hp 23hp 24hp 25hp Vertical Engines Mia10632 Carburetors Aliexpress

791230 Carburetor Carb Gasket Kit For Briggs Stratton V Twin 4 Cycle 20hp 21hp 23hp 24hp 25hp Vertical Engines Mia10632 Carburetors Aliexpress

18hp Tumblr Posts Tumbral Com

18hp Tumblr Posts Tumbral Com

Briggs Stratton Vanguard V Twin Horizontal Engine Electric Start 18 Hp 1in X 2 29 32in Shaft

Briggs Stratton Vanguard V Twin Horizontal Engine Electric Start 18 Hp 1in X 2 29 32in Shaft

Carburetor Carb For Briggs Stratton 20hp 21hp 23hp 24hp 25hp Intek V Twin Engine

Carburetor Carb For Briggs Stratton 20hp 21hp 23hp 24hp 25hp Intek V Twin Engine

Buy Carburetor Kit For Briggs Stratton V Twin 20 21 22 23 24h 25 Hp 699709 791230 Online In Vietnam B092m1f46g

Buy Carburetor Kit For Briggs Stratton V Twin 20 21 22 23 24h 25 Hp 699709 791230 Online In Vietnam B092m1f46g

26 0 Gross Hp 810cc V Twin Vertical Shaft Vanguard

26 0 Gross Hp 810cc V Twin Vertical Shaft Vanguard

10 Hp Briggs And Stratton Carburetor Diagram Price Nov 2021 Found 535 For Sale

10 Hp Briggs And Stratton Carburetor Diagram Price Nov 2021 Found 535 For Sale

I Have A Husqvarna Rz5424 Mower With A Briggs Stratton 24 Hp Intek Motor I Pulled The Off Cleaned It And Am Trying

I Have A Husqvarna Rz5424 Mower With A Briggs Stratton 24 Hp Intek Motor I Pulled The Off Cleaned It And Am Trying

Briggs And Stratton Carburetor Linkage Diagram Wiring Site Resource

Briggs And Stratton Carburetor Linkage Diagram Wiring Site Resource

Nikki Carburetors Manuals

Nikki Carburetors Manuals

Yard Garden Outdoor Living Proline 10 Pack O Rings For Briggs Stratton Nikki Carburetor Main Jet V Twin Lawn Mowers

Yard Garden Outdoor Living Proline 10 Pack O Rings For Briggs Stratton Nikki Carburetor Main Jet V Twin Lawn Mowers

Briggs Professional V Twin Choke Adjustment Lawnsite Is The Largest And Most Active Online Forum Serving Green Industry Professionals

Briggs Professional V Twin Choke Adjustment Lawnsite Is The Largest And Most Active Online Forum Serving Green Industry Professionals

Get 31 18 Hp Briggs And Stratton Vanguard Parts Diagram

Get 31 18 Hp Briggs And Stratton Vanguard Parts Diagram

0 Response to "37 briggs and stratton 20 hp v twin carburetor diagram"

Post a Comment

Iklan Atas Artikel

Iklan Tengah Artikel 1

Iklan Tengah Artikel 2

Iklan Bawah Artikel